0
Ваша Корзина
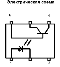
АОТ128Б – Описание
Транзисторная оптопара АОТ128Б состоит из излучающего диода на основе соединения галлий-алюминий-мышьяк и кремниевых фототранзисторов. Данные оптопары предназначены для бесконтактной коммутации постоянного тока с гальванической развязкой между входом и выходом. Устройство выпускается в 6-ти выводном пластмассовом корпусе с двухсторонним расположением выводов для монтажа в отверстия печатных плат. Маркировка и схема соединения электродов с выводами указывается на корпусе.
АОТ128Б – Характеристики
Технические характеристики:
- Количество каналов: 1;
- Напряжение изоляции (RMS): 1500 В;
- Тип входа: DC;
- Тип выхода: транзистор с базой;
- Напряжение выхода: 30 В;
- Выходной ток на канал: 32 мА;
- Рабочая температура: -40…+85 °C;
- Корпус: 2101.6-1;
- Вес: 0,9 г.
| Тип изделия | Постоянное прямое напряжение на входе Uвх. @Iвх.=10мA | Выходное остаточное напряжение Uвых. ост | Ток утечки на выходе Iут.вых. | Напряжение изоляции Uиз. t=1мин. | Время задержки сигнала tзд. | Сопротивление изоляции Rиз. | ||||
| @Iвх. | @Iвых. | @Uком. | @Uком. | |||||||
| B | В | мА | мА | мА | B | В | мкс | В | Ом | |
| max | max | max | min | max | min | |||||
| АОТ174В | 1.5* | 0.2 | 20 | 1 | 0.1 | 20 | 5000 | 18** | 2 | 1012 |
| АОТ161А | 1.6 | 0.3 | 10 | 10 | 10 | 50 | 6000 | 5 | 10 | 1011 |
| АОТ128А | 1.6 | 0.3 | 10 | 2.5 | 10 | 50 | 1500 | 4 | 10 | 1011 |
| АОТ128Б | 1.6 | 0.4 | 10 | 10 | 10 | 30 | 1500 | 4 | 10 | 1011 |
| АОТ128В | 1.6 | 0.4 | 10 | 5 | 10 | 30 | 1500 | 4 | 10 | 1011 |
| АОТ128Г | 1.6 | 0.4 | 10 | 5 | 10 | 15 | 1500 | 4 | 10 | 1011 |
| АОТ128Д | 1.6 | 0.3 | 10 | 10 | 10 | 50 | 1500 | 4 | 10 | 1011 |
* @Iвх.=20мА
** время нарастания/спада выходного сигнала
Предельно-допустимые режимы эксплуатации:
| Тип изделия | Входной ток Iвх. | Максимальный входной импульсный ток Iвх. и | Максимальное напряжение коммутации Uком. | Максимальный ток коммутации Iком. | Максимальная мощность, рассеиваемая одним каналом Р | Рабочий диапазон температур T | |||
| @t<10мс Q=2 | @t<10мкс Q=5 | ||||||||
| мА | мА | мА | В | мА | мВт | °C | |||
| min | max | max | max | max | max | max | min | max | |
| АОТ174В | - | 50 | 1000* | - | 35 | 50 | 150 | -45 | +100 |
| АОТ161А | - | 40 | - | 100 | 50 | 32 | 12.8 | -55 | +85 |
| АОТ128А | - | 40 | - | 100 | 50 | 8 | - | -45 | +85 |
| АОТ128Б | - | 40 | - | 100 | 30 | 32 | - | -45 | +85 |
| АОТ128В | - | 40 | - | 100 | 30 | 16 | - | -45 | +85 |
| АОТ128Г | - | 40 | - | 100 | 15 | 16 | - | -45 | +85 |
| АОТ128Д | - | 40 | - | 100 | 50 | 32 | - | -45 | +85 |
*@t<1мкс


