0
Ваша Корзина
АОД130А – Описание
АОД130А – диодная оптопара (оптрон), образована излучающим диодом на основе соединения мышьяк-галлий-алюминий и кремниевым фотодиодом. Она обычно используется в радиоэлектронной аппаратуре для гальванической развязки электрических цепей, между которыми осуществляется передача информации. Выпускается в пластмассовом корпусе DIP-4.
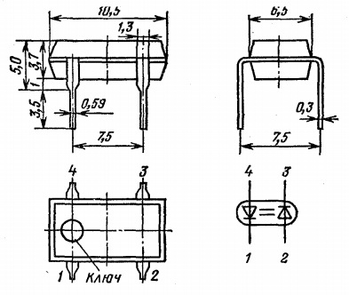
Внешний вид и габаритные размеры:
АОД130А – Характеристики
Технические характеристики:
- Количество каналов: 1;
- Напряжение изоляции (RMS): 1500 В;
- Коэффициент передачи по току (Мин.): 1%;
- Тип входа: DC;
- Тип выхода: Диод;
- Напряжение выхода: 30 В;
- Рабочая температура: -45…+70 °C;
- Корпус: DIP-4, 7.5 мм;
- Вес: 1 г.


