0
Ваша Корзина
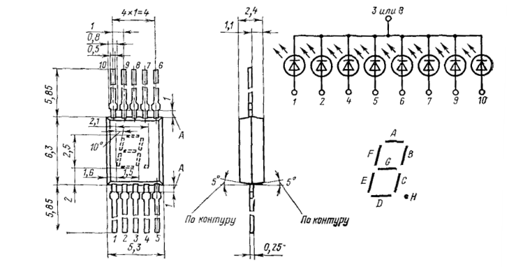
АЛС314А – Описание
Индикатор цифровой одноразрядный полупроводниковый АЛС314А
Предназначен для отображения информации в виде цифр от 0 до 9 и десятичного знака в средствах отображения информации индивидуального пользования.
Технические характеристики:
- Цвет свечения: красный
- Сила света: 285 мкКд
- Прямое напряжение: не более 2 В
- Материал p-n перехода: иарсенид-фосфид галлия
- Корпус: пластик
- Масса: 0,25 г

