26.09.2016
автор А П
Выключатели управления серии КЕ022, производимые заводом ВЗКА, конструктивно состоят из управляющего и контактного элементов. Контактный элемент имеет две изолированные между собой контактные цепи с двойным разрывом контактов. Управляющий элемент состоит из фланца, внутри которого находится прямоходовой грибовидный толкатель, подпружиненный возвратной пружиной.
Управление контактами выключателей серии КЕ022 производится при помощи управляющего элемента путем нажатия или удара по нему ладонью. При снятии нагрузки возврат толкателя в исходное положение происходит под действием возвратной пружины.
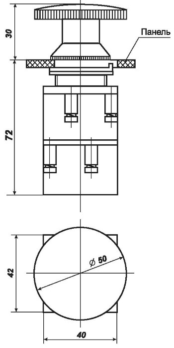
Ориентация и крепление выключателей КЕ022 на панели осуществляется фронтальным кольцом, гайкой и ориентирующим кольцом.
Отличительные особенности:
- Номинальное напряжение изоляции: 660 В;
- Номинальное рабочее напряжение:
- 660 В переменного тока частоты 50/60 Гц,
- 440 В постоянного тока;
- Минимальное напряжение:
- 36 В переменного тока,
- 24 В постоянного тока;
- Номинальный тепловой ток: 10 А;
- Минимальный рабочий ток: 0,05 А;
- Сквозной ток: 200 А (1 сек);
- Степень защиты:
- IP00 - контактный элемент,
- IP40 - управляющий элемент;
- Минимальный рабочий ток: 0,05 А;
- Минимальное рабочее напряжение: 12 В;
- Частота включений в час: 1200;
- Механическая износостойкость: 10 млн. циклов.
Области применения: в постах и пультах управления, на станках, на конвейерах, в железнодорожных вагонах и локомотивах, трамвайных вагонах и вагонах метро, для управления кран-балками, тельферами и лебедками.
Условия эксплуатации:
- Высота над уровнем моря: до 4300 м.
- Номинальное значение климатических факторов внешней среды согласно ГОСТ Р 50030.5.1-99, ГОСТ Р 50030.1-2000. При этом степень защиты контактного элемента выключателей определяется степенью защиты оборудования, в которые они встраиваются; окружающая среда - не содержащая газы, жидкости и пыль в концентрациях, нарушающих работу выключателей; отсутствие непосредственного воздействия солнечной радиации.
- Рабочее положение в пространстве: любое.
- В части воздействия механических факторов внешней среды выключатели соответствуют группе условий эксплуатации М9 по ГОСТ 17516-72.
- В связи с эксплуатацией кнопочных выключателей с сигнальной лампой в условиях М9 по ГОСТ 17516-72 время горения лампы может отличаться от указанного в ГОСТ 2023-76.
- Выключатели по технике безопасности соответствуют ГОСТ 12.2.007.6-75, по способу защиты человека от поражения электрическим током относятся к классу 0 по ГОСТ 12.2.007.0-75.
- Выключатели соответствуют требованиям технических условий: ТУ 3648-001-94005788-2005, ГОСТ Р 50030.5.1-99, ГОСТ Р 50030.1-2000.
- Гарантийный срок эксплуатации кнопочных выключателей серии КЕ: 12 месяцев.
