Бесплатно по России
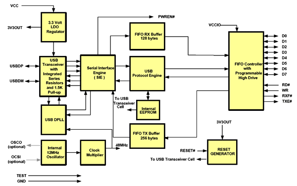
Микросхема FT245RL, производства компании FTDI, представляет собой преобразователь USB-интерфейса в параллельный FIFO-интерфейс, существенно упрощая конструкцию и уменьшая количество внешних компонентов путем полной интеграции в одном кристалле EEPROM-памяти, согласующих резисторов USB-линий, а также интегральной схемы синхронизации, которая не требует применения отдельного резонатора.
Преобразователь интерфейсов FT245RL создавался для эффективной работы с USB Host-контроллерами, чтобы использовать как можно меньше ресурсов от их суммарной пропускной способности. Благодаря наличию больших приемного и передающего буферов, обеспечивается максимальная скорость обмена данными.
Отличительные особенности:
Области применения: связь и сети, промышленное оборудование, потребительская электроника, переносные устройства, беспроводные устройства, аудио системы, видео и машинное зрение.
