Бесплатно по России
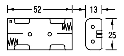
Батарейный отсек BH421-1A, производства тайваньской компании Comfortable Electronic, представляет собой пластиковый корпус с гнездами для установки в них двух элементов питания типа AAA (UM4, R03, LR03, 286), что дает суммарное напряжение 3,0 В. Подключение всей батареи осуществляется проводами AWG26 в изоляции черного и красного цвета общей длиной 150 мм. Для упрощения пайки, концы проводов уже зачищены и облужены на 5 мм.
Отсек BH421-1A можно закрепить внутри корпуса прибора, для чего в основании предусмотрены несколько отверстий. Специальная конструкция фиксаторов элементов питания не позволяет им выпадать из батарейного отсека при возможных ударах и вибрации, одновременно обеспечивая надежный электрический контакт.
Отличительные особенности:

