Бесплатно по России
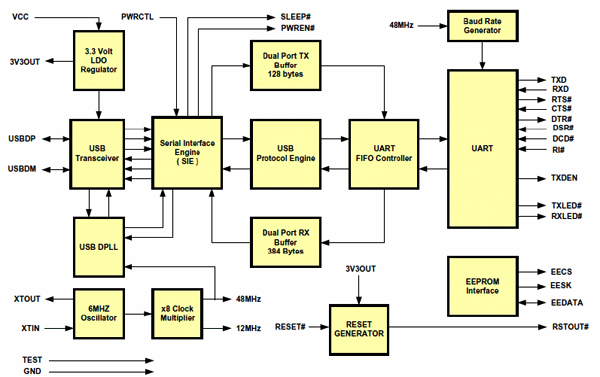
Отлично зарекомендовавшие себя в работе микросхемы FT232B и FT232R, производства компании FTDI, созданы для упрощения подключения к USB-интерфейсу устройств, имеющих последовательный UART-интерфейс. При этом с помощью оригинального драйвера в операционной системе компьютера создается виртуальный COM-порт. Кроме RS232 также возможно преобразование USB-интерфейса в RS422 или RS485. Для одновременной работы нескольких конечных устройств с одним ПК для FT232B требуется подключение внешней EEPROM-памяти.
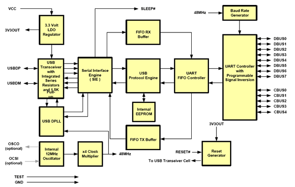
ИМС FT232R отличается двумя новыми, по сравнению со своими предшественниками, функциями. Сигнал внутреннего синтезатора частоты (6, 12, 24 и 48 МГц) может использоваться для тактирования микроконтроллера или внешней логики. Уникальный номер (FTDIChip-ID) программируется во внутреннюю память в процессе изготовления микросхемы и доступен через USB. Таким образом, создается основа ключа безопасности, который может быть использован для защиты клиентского ПО от копирования.
Структурная схема FT232BL:

Структурная схема FT232RL:
