0
Ваша Корзина
SP312EET – Описание
Технические характеристики
- Тип корпуса: SOIC-16
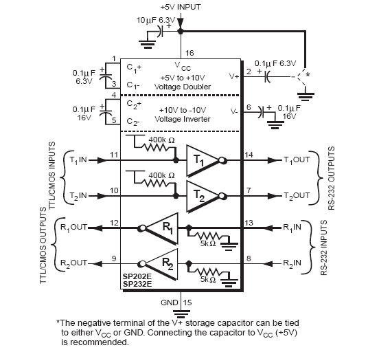
Функциональная блок-схема

Назначение выводов

Бесплатно по России
Функциональная блок-схема

Назначение выводов

SP312E (SP312E.pdf, 124 Kb) [Скачать]