0
Ваша Корзина
MAX7219ENG – Описание
Технические характеристики
- Тип дисплея: LED
- Конфигурация: 7 Segment + DP
- Интерфейс подключения: 4-Wire Serial
- Цифры или cимволы: 8 Digits
- Выходной ток: 330 мА
- Напряжение питания: 4 В ~ 5.5 В
- Рабочая температура: -40°C ~ 85°C
- Тип корпуса: 24-DIP
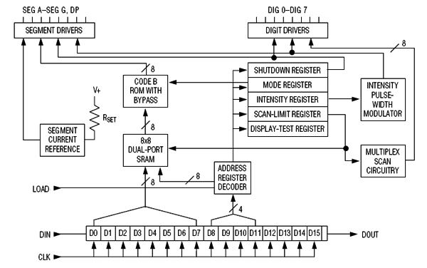
Функциональная блок-схема

Назначение выводов

