РВО-П3-08 ACDC24-240В УХЛ4 – Описание
Реле РВО-П3-08 ACDC24-240В УХЛ4
Реле времени предназначено для коммутации электрических цепей с предварительно установленной выдержкой времени и алгоритмом работы.
- Диапазон выдержки времени от 0,01с до 999ч
- Установка выдержки времени трёхдекадным кнопочным переключателем
- 14 диаграмм работы
- Контакт мгновенного действия (только в реле РВО-П3-081)
- 2 переключающие группы контактов 8А/250В
- Индикатор наличия питания и состояния встроенного реле
- Корпус шириной 35мм
Конструкция:
Выпускаются в унифицированном пластмассовом корпусе с передним присоединением проводов питания и коммутируемых электрических цепей. Крепление осуществляется на монтажную рейку-DIN шириной 35 мм (ГОСТ Р МЭК 60715-2003) или на ровную поверхность. Для установки реле на ровную поверхность, фиксаторы замков необходимо переставить в крайние отверстия, расположенные на тыльной стороне корпуса. Конструкция клемм обеспечивает надёжный зажим проводов сечением до 2,5мм2. Имеется возможность пломбирования крышки корпуса. Пломбировочная крышка поставляется отдельно по желанию заказчика. Наличие пломбировочной крышки повышает степень защиты от воздействия статического электричества и позволяет исключить несанкционированный доступ к органам управления выдержкой времени.
Работа реле:
Технические характеристики:
|
Параметр
|
Ед.изм.
|
РВО-П3-08 АСDC24-240B
|
РВО-П3-081 АСDC24В
|
РВО-П3-081 АСDC36-240B
|
|
Напряжение питания
|
В
|
АСDC24-240
|
АСDC24 ± 10%
|
ACDC36-240
|
|
Диапазоны выдержки времени
|
|
0,01с - 9,99с, 0,1c - 99,9с, 1c - 999с, 0,1мин - 99,9мин, 1мин - 999мин, 0,1ч - 99,9ч, 1ч - 999ч
|
||
|
Время готовности, не более
|
с
|
0,15
|
||
|
Время повторной готовности, не более
|
с
|
0,1
|
||
|
Погрешность отсчета выдержки времени, не более
|
%
|
2 | ||
|
Время воздействия управляющего сигнала, не менее
|
с
|
0,05
|
||
|
Диаграммы работы
|
|
1, 2, 3, 4, 11, 12, 23, 24, 28, 29
|
||
|
Дополнительная диаграмма работы (диапазон 0,1-99,9с)
|
|
8, 9, 30
|
||
|
Максимальный коммутируемый ток:
АС250В 50 Гц(АС1)/DC30B (DC1)
|
А
|
8
|
||
| Максимальное коммутируемое напряжение | В | 400 (AC1/2A) | ||
|
Максимальная коммутируемая мощность: АС250В 50Гц (АС1) / DC30В (DC1)
|
ВА/Вт
|
2000/240
|
||
|
Максимальное напряжение между цепями питания и контактами реле
|
В
|
АС2000 (50Гц - 1мин)
|
||
|
Механическая износостойкость, не менее
|
циклов
|
10х106
|
||
|
Электрическая износостойкость, не менее
|
циклов
|
100000
|
||
|
Количество и тип контактов
|
|
2 переключающие группы
|
2 переключающие группы + контакт мгновенного действия (МК)
|
|
|
Диапазон рабочих температур
|
0С
|
-10+55
|
||
|
Температура хранения
|
0С
|
-40...+70
|
||
|
Помехоустойчивость от пачек импульсов в соответствии с ГОСТ Р 51317.4.4-99 (IEC/EN 61000-4-4)
|
уровень 3 (2кВ/5кГц) | |||
|
Помехоустойчивость от перенапряжения в соответствии с ГОСТ Р 51317.4.5-99 (IEC/EN 61000-4-5)
|
уровень 3 (2кВ А1-А2) | |||
|
Климатическое исполнение и категория размещения по ГОСТ 15150-69 (без образования конденсата)
|
УХЛ4 | |||
| Степень защиты по корпусу/по клеммам по ГОСТ 14254-96 | IP40/IP20 | |||
| Степень загрязнения в соответствии с ГОСТ 9920-89 | 2 | |||
|
Относительная влажность воздуха
|
%
|
до 80 (при 250С)
|
||
|
Высота над уровнем моря
|
м
|
до 2000
|
||
|
Рабочее положение в пространстве
|
|
произвольное
|
||
|
Режим работы
|
|
круглосуточный
|
||
|
Габаритные размеры
|
мм
|
35х90х63
|
||
|
Масса
|
кг
|
0,116
|
||
Диаграммы работы:
![]() | Отсчёт заданного времени начинается при подаче напряжения питания, после чего реле включается (задержка на включение). Отключение по снятию питания |
![]() | Реле включается одновременно с подачей питания. Отключение реле происходит после отсчёта заданного времени (задержка на отключение). |
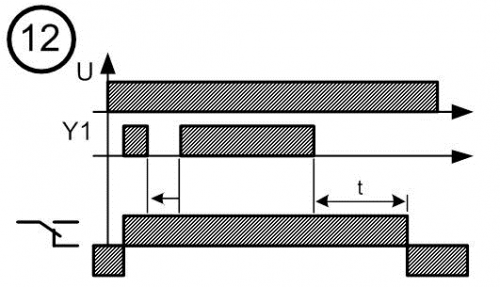
![]() | Включение реле и отсчёт заданного времени начинается после размыкания управляющего контакта. Отсчёт времени не прерывается повторной командой внешнего запуска. Отключение реле происходит после отсчёта заданного времени или при выключении питания. |
![]() | Реле включается при замыкании управляющего контакта. Отсчёт заданного времени начинается после размыкания управляющего контакта. Отсчёт времени не прерывается повторной командой внешнего запуска. Отключение реле происходит после отсчёта заданного времени или при выключении питания. |
![]() | Циклическое включение и отключение реле (бесконечный цикл). При подаче напряжения питания исполнительное реле включается и начинается отсчёт выдержки времени tи, после отработки времени импульса исполнительное реле выключается и начинается отсчёт выдержки времени tп. Цикл повторяется до снятия напряжения питания. |
![]() | Циклическое реле с однократным циклом. При замыкании управляющего контакта начинается отсчёт выдержки времени tп, после отработки времени паузы исполнительное реле включается и начинает отсчёт выдержки времени tи, после отработки времени импульса исполнительнное реле выключается. |
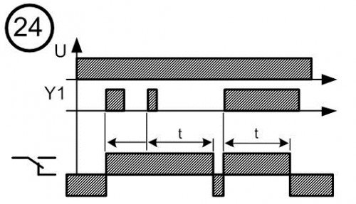
![]() | Включение реле и отсчёт заданного времени начинается после размыкания управляющего контакта. Отсчёт времени прерывается повторной командой внешнего запуска. Отключение реле происходит после отсчёта заданного времени или при выключении питания. |
![]() | Реле включается при замыкании управляющего контакта. Отсчёт заданного времени начинается после размыкания управляющего контакта. Отсчёт времени прерывается повторной командой внешнего запуска. Отключение реле происходит после отсчёта заданного времени или при выключении питания. |
![]() | При замыкании управляющего контакта начинается отсчёт заданной выдержки времени. Отсчёт времени прерывается повторной командой внешнего запуска. Реле включится если интервал между командами внешнего запуска больше установленной выдержки времени. Реле выключается при поступлении очередной команды внешнего запуска или при отключении питания. |
![]() | При замыкании управляющего контакта реле включается и начинается отсчёт заданной выдержки времени. Отсчёт времени прерывается повторной командой внешнего запуска. Реле выключится если интервал между командами внешнего запуска больше установленной выдержки времени. Реле включается при поступлении очередной команды внешнего запуска. |
![]() | Контроль частоты или скорости вращения. Отсчёт времени задержки на включение начинается при включении напряжения питания и по переднему или заднему фронту управляющего импульса; реле включается, если пауза между любыми соседними фронтами больше установленной выдержки времени или длительность управляющего импульса больше установленной выдержки времени. |
![]() | Контроль частоты или скорости. Отсчёт времени задержки на включение начинается при включении напряжения питания и по переднему или заднему фронту управляющего импульса; реле включается если пауза между любыми соседними фронтами больше установленной выдержки времени или длительность управляющего импульса больше установленной выдержки времени. Отключение реле происходит только при снятии напряжения питания (режим памяти) |
![]() | При подаче команды внешнего запуска начинается отсчёт заданной выдержки времени. Если длительность команды внешнего запуска меньше установленного времени, отсчёт времени будет прерван и реле будет отключено. Если длительность будет больше, то через заданное время реле включится. После снятия команды внешнего запуска вновь начинается отсчёт заданного времени, после чего происходит отключение реле. Интервал между двумя командами внешнего запуска должен превышать значение заданного времени, в противном случае отсчёт прекратится и реле останется включённым. |













