ЕЛ-11М-15 АС400В УХЛ4 – Описание
Реле контроля трехфазного линейного напряжения ЕЛ-11М-15 АС400В УХЛ4
ЕЛ-11М-15 АС400В УХЛ4 предназначено для контроля напряжения в трёхфазных сетях без нулевого провода, а также для защиты источников и преобразователей электрической энергии. Реле не требует подвода дополнительного питания т.к. потребляет его от контролируемой нагрузки.
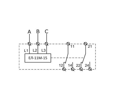
Корпус стандартен и изготовлен из пластика, крепится на рейку ДИН 35мм или ровную поверхность. Используется фронтальное подключение клемм.
На лицевой панели прибора расположены: регулятор времени срабатывания, зелёный индикатор наличия напряжения питания в трёхфазной цепи «U» и жёлтый индикатор включения встроенного исполнительного реле «R».
Основные особенности ЕЛ-11М-15 АС400В УХЛ4:
- Контроль линейных напряжений
- Отключение при превышении линейных напряжений >1,3 Uном
- Отключение при снижении напряжения 0,8 Uном
- Отключение при асимметрии фаз >30%
- Контроль порядка чередования фаз
- Обнаружение обрыва фаз
- Регулируемая задержка срабатывания от 0,1 до 10с
Описание работы ЕЛ-11М-15 АС400В УХЛ4:
При подаче на реле трёхфазного напряжения включается индикатор «U» и осуществляется проверка всех контролируемых параметров. Если все параметры в норме, включается встроенное исполнительное реле и зажигается индикатор «R».
При обнаружении отклонений параметров сети: обратного порядка чередования фаз, пропадании двух или трёх фаз, при превышении фиксированного порога напряжения - ЕЛ-11М-15 АС400В УХЛ4 выключается без отсчёта установленной задержки времени срабатывания. При асимметрии и снижении напряжения ниже фиксированного порога или обрыве одной из фаз, устройство выключается через время t, установленное регулятором времени срабатывания. При возвращении параметров в норму реле включается без задержки. Работа реле представлена на диаграмме, где t - установленная выдержка времени.
Технические характеристики ЕЛ-11М-15 АС400В УХЛ4:
| Параметр | Ед.изм. | Значение |
| Номинальное напряжение Uном 50Гц | В | 400 |
| Мин./макс. допустимое линейное напряжение | 210/560 | |
| Потребляемая мощность, не более | ВА | 2 |
| Время выключения встроенного реле при: | ||
| снижении напряжения ниже 0,8 Uном ± 5% | с | 0,1-10 |
| асимметрии >(30± 2)% | ||
| «слипании» фаз | ||
| обрыве одной фазы | ||
| обрыве двух или трёх фаз | 0,1 | |
| обратном порядке чередования фаз | ||
| превышении напряжения выше 1,3 Uном ± 5% | ||
| Количество и тип контактов |
| 2 переключающие группы |
| Максимальная коммутируемая мощность | ВА | 1250 |
| Максимальное напряжение между цепями питания и контактами реле | В | АС2000 (50Гц - 1мин) |
| Диапазон рабочих температур | 0С | -25...+55 (УХЛ4) |
| Габаритные размеры | мм | 17,5х90х63 |
| Масса | кг | 0,065 |
В линейке устройств контроля ЕЛ-11М-15 присутствуют реле для работы при различном номинальном напряжении, все они представлены в каталоге и доступны к заказу.
В интернет-магазине Спецэлсервис вы можете купить ЕЛ-11М-15 АС400В УХЛ4 по разумной цене.
Самовывоз осуществляется с Московского склада бесплатно, с условиями доставки по России ознакомьтесь здесь.
