УЗМ-16 УХЛ4 – Описание
Реле УЗМ-16 УХЛ4
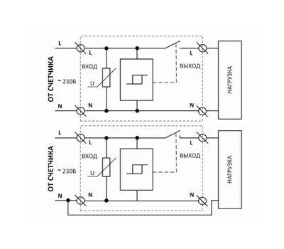
Устройство защиты многофункциональное УЗМ-16 УХЛ4 работает в однофазных сетях и используется для отключения оборудования при выходе сетевого напряжения за допустимые нормы, в том числе при импульсных скачках напряжения. Для удобства пользователей при кратковременных (менее 0,5 с) провалах показателя УЗМ не отключает нагрузку и задержки включения не происходит.
Возможно применение устройства в сетях любой конфигурации; TN-C, TN-S, TN-C-S, ТТ.
Необходимо понимать, что реле УЗМ-16 УХЛ4 не способно заменить другие аппараты защиты (автоматические выключатели, УЗИП, УЗО и пр.), но удачно их дополняет.
Основные особенности:
- Номинальный ток коммутации 16А
- Двухпороговая защита от превышения/снижения сетевого напряжения
- Встроенная варисторная защита от импульсных скачков сетевого напряжения
- 2 варианта программирования задержки вторичного включения: 10 сек; 6 мин
Технические характеристики:
| Параметр | Ед.изм. | Значение |
| Максимальная энергия поглощения (одиночный импульс 10/1000мкс) | Дж | 42 |
| Максимальный ток поглощения (повторяющиеся импульсы 8/20мкс) | А | 1200 |
| Время срабатывания импульсной защиты | нс | <25 |
| Номинальное/максимальное напряжение питания | В | 230/400 |
| Частота | Гц | 50/60 |
| Номинальный ток нагрузки | А | 16 |
| Максимальная коммутируемая мощность | ВА | 3680 |
| Задержка включения (повторного включения) - выбирается пользователем (при поставке 10 с) - t1 | 10 с или 6 мин | |
| Рабочая температура | °С | -25…+55 |
| Герметичность по корпусу/по клеммам по ГОСТ 14254-96 | IP40/IP20 | |
| Размеры | мм | 18 х 93 х 62 |
| Вес | г | 70 |
В интернет-магазине Спецэлсервис вы можете купить УЗМ-16 УХЛ4 по разумной цене.
Самовывоз осуществляется
с Московского склада бесплатно, с условиями доставки по России
ознакомьтесь здесь.
