РТУ-300-15 – Описание
Реле тока утечки РТУ-300
Реле РТУ-300 снабжено микропроцессорным управлением и предназначено для контроля величины тока утечки в проводниках защитного заземления или контроля дифференциального тока утечки без отключения контролируемой линии.
Реле тока утечки «РТУ-300» выполнено в корпусе для установки на DIN-рейку.
На передней панели блока находятся индикаторы «СЕТЬ», «НОРМА», «I>Iут» и ручка установки порогового значения тока утечки «Iут, мА». Цепи питания и измерения гальванически разделены. В нижней и верхней части блока находятся клеммные колодки для подключения блока к сети, трансформатору тока и схеме сигнализации.
ВНИМАНИЕ: Для установки РТУ-300 на медную шину приобретайте монтажную втулку.
Отличительные особенности РТУ-300:
- Питание осуществляется непосредственно от сети
- Микропроцессорное управление
- Настройка уровня контроля тока утечки
- Настраиваемая временная задержка
- "Сухие" контакты сигнализации
- Трансформатор тока в комплекте
Технические параметры РТУ-300:
- Масса 0,2 кг
- Габаритные размеры 36 х 90 х 65 мм
- Напряжение питания 220/380 В; 50 Гц
- Диапазон рабочих температур (без конденсата) -25 … 45 °С
- Коммутируемый ток контакта (АС1 250 В) max 5 А
- Потребляемая мощность, не более 3 Вт
- Временная задержка включения внутреннего реле при превышении установленного тока 0,1 с
- Диапазон контролируемого тока 5…300 мА
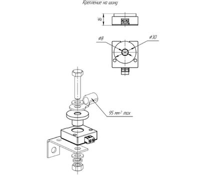
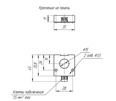
Крепление токового трансформатора можно осуществить тремя способами:
- На DIN-рейку
- На металлическую/текстолитовую панель
- На медную шину
