Бесплатно по России
Реле тока РТ-40У, производства компании МЕАНДР, предназначено для применения в схемах релейной защиты и автоматики энергетических систем в качестве устройства, реагирующего на превышение допустимого тока. Реле может использоваться для контроля перегрузки электродвигателей или другого электрооборудования, для контроля потребления, токовой защиты, диагностики состояния оборудования на замыкание, пониженное или повышенное потребление тока.
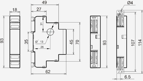
Реле РТ-40У выпускается в пластмассовом корпусе с передним присоединением проводов питания и коммутируемых электрических цепей. Крепление осуществляется на монтажную DIN-рейку шириной 35 мм или на ровную поверхность. Конструкция клемм обеспечивает надежный зажим проводов сечением 2,5 мм2. На лицевой панели расположены синий индикатор наличия тока в контролируемой цепи, красный индикатор состояния контактов встроенного исполнительного реле, регуляторы времени и порога срабатывания.
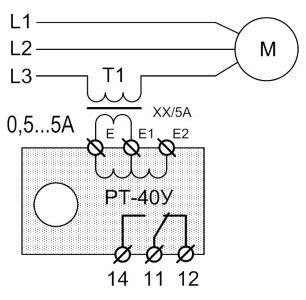
Универсальное реле РТ-40У не требует оперативного питания и подключается непосредственно в измеряемую цепь. В диапазоне токов до 30 А питание обеспечивается от встроенного трансформатора тока. Для контроля значений тока превышающего 30 А следует применять стандартные трансформаторы тока ХХ/5А.
Отличительные особенности:
Технические характеристики реле РТ-40У
|
Параметр |
Ед.изм. |
РТ-40У |
|
Питание |
От контролируемого тока |
|
|
Номинальная частота измеряемого тока |
Гц |
45…65, 400* |
|
Измерительная цепь: - клеммы Е - E2 - клеммы Е - E1 - бесконтактный способ - встроенный трансформатор тока |
А |
0,1—1 0,5—5 3-30 |
|
Термическая устойчивость при длительном протекании тока: - вход Е-E2 - 1А - вход Е-E1 - 5А - встроенный трансформатор тока - 30А |
А |
4 15 200 |
|
Регулировка порога срабатывания от максимального значения диапазона |
% |
10 - 100 |
|
Погрешность установки порога срабатывания |
% |
15 |
|
Погрешность измерения |
% |
10 |
|
Гистерезис |
% |
10 |
|
Регулируемая задержка срабатывания |
с |
0,2 - 20 |
|
Максимальное коммутируемое напряжение |
В |
400 (AC1/5A) |
|
Максимальный коммутируемый ток (АС1): АС250В 50Гц (АС1)/DC30В (DC1) |
А |
16 |
|
Максимальная коммутируемая мощность: АС250В 50Гц (АС1)/DC30B (DC1) |
ВА/Вт |
4000/480 |
|
Максимальное напряжение между цепями измерения и контактами реле |
В |
АС2000 (50Гц -1мин) |
|
Потребляемая мощность, не более |
ВА |
2 |
|
Механическая износостойкость, не менее |
циклов |
10х106 |
|
Электрическая износостойкость, не менее |
циклов |
100000 |
|
Количество и тип контактов |
1 переключающий |
|
|
Диапазон рабочих температур (по исполнениям) |
°С |
-25…+55 (УХЛ4) -40…+55 (УХЛ2) |
|
Температура хранения |
°С |
-40...+70 |
|
Помехоустойчивость от пачек импульсов в соответствии с ГОСТ Р 51317.4.4-99 (IEC/EN 61000-4-4) |
уровень 3 (2кВ/5кГц) |
|
|
Помехоустойчивость от перенапряжения в соответствии с ГОСТ Р 51317.4.5-99 (IEC/EN 61000-4-5) |
уровень 3 (2кВ А1-А2) |
|
|
Климатическое исполнение и категория размещения по ГОСТ 15150-69 (без образования конденсата) |
УХЛ4 или УХЛ2 |
|
|
Степень защиты по корпусу/по клеммам по ГОСТ 14254-96 |
IP40/IP20 |
|
|
Степень загрязнения в соответствии с ГОСТ 9920-89 |
2 |
|
|
Относительная влажность воздуха |
% |
до 80 (при 25°С) |
|
Рабочее положение в пространстве |
произвольное |
|
|
Режим работы |
круглосуточный |
|
|
Габаритные размеры |
мм |
18х93х62 |
|
Масса |
кг |
0,095 |
* Специальное исполнение.
Схемы подключения реле РТ-40У


Габаритные размеры реле контроля тока РТ-40У
